CLG920E/922E 23E0442(C) 空调系统(C) AIR CONDITIONING SYSTEM(C)
CLG920E/922E 23E0442(C) 空调系统(C) AIR CONDITIONING SYSTEM(C)

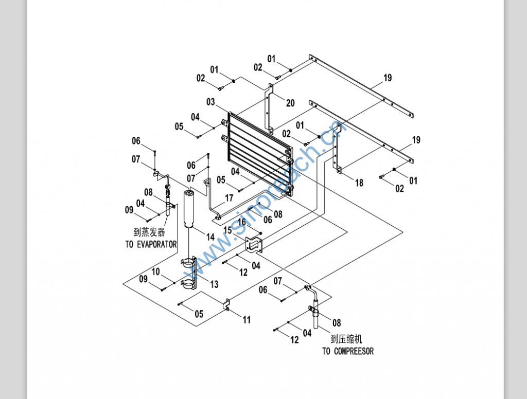
01 06B0001 000 垫圈 WASHER 8
02 00B0012 000 螺栓 BOLT 8
03 46C3629 002 冷凝器 CONDENSER 1 Z
04 06B0086 000 垫圈 WASHER 6
05 00B0102 000 螺栓 BOLT 4
06 00B0169 000 螺栓 BOLT 4
07 06B0024 000 垫圈 WASHER 4
08 20A1853 001 线夹 CLIP 2
09 00B0075 000 螺栓 BOLT 3
10 06B0005 000 垫圈 WASHER 2
11 00D5150 000 弯板 PLATE 1
12 00B0085 000 螺栓 BOLT 2
13 46C0793 002 储液罐支架总成 BRACKET 1
14 46C0758 002 储液罐总成 REFRIGERANT
RECEIVER AS 1
15 21A5414 001 弯板 PLATE 1
16 03B0021 000 螺母 NUT 2
17 46C3347 002 冷凝器至储液罐管 HOSE 1
18 00D7394 000 右安装板 MOUNTING PLATE-RH 1
19 00D8999 000 安装板 MOUNTING PLATE 2 N1 01D0595
19 01D0595 000 安装板 MOUNTING 2
20 00D7393 000 左安装板 MOUNTING PLATE-LH 1
