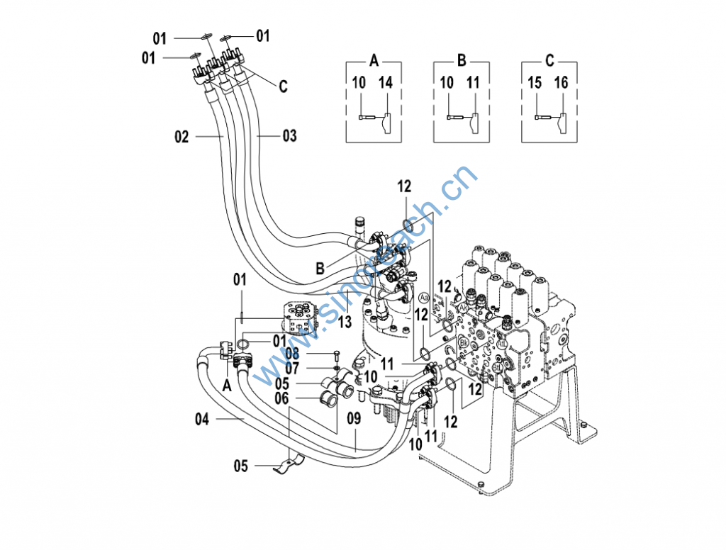
CLG920E/922E 15E0575(C) 主控阀配管 B MAIN HYDRAULIC SYSTEM-MAIN CONTROL VALVE PIPINGS
CLG920E/922E 15E0575(C) 主控阀配管 B MAIN HYDRAULIC SYSTEM-MAIN CONTROL VALVE PIPINGS

01 12B0444 002 O 形圈 O-RING 5
02 06C6329 000 软管总成 HOSE AS 1
03 06C6331 000 软管总成 HOSE AS 1
04 06C6334 000 软管总成 HOSE AS 1
04 06C6336 000 软管总成 HOSE AS 1 06C6334
05 20A6571 001 管夹 CLAMP 2
06 83A0674 001 管夹护套 BOOT 2
07 06B0001 000 垫圈 WASHER 1
08 00B0019 000 螺栓 BOLT 1
09 06C6337 000 软管总成 HOSE AS 1 06C6335
09 06C6335 000 软管总成 HOSE AS 1
10 04B0413 000 螺钉 SCREW 28
11 04A0250 001 法兰压板 SPLIT FLANGE 5
12 12B0445 002 O 形圈 O-RING 5
13 06C6330 000 软管总成 HOSE AS 1
14 04A0429 000 法兰 FLANGE 2
15 04B0670 000 螺钉 SCREW 12
16 04A0252 002 法兰压板 SPLIT FLANGE 3
